[서울파이낸스 박시형 기자] 최대 배터리 싸움이 일어났습니다. 문제는 사랑의 배터리가 아니란 점? 이 싸움의 끝이 있을까요?
약 일주일 전 LG화학은 SK이노베이션을 상대로 "기술을 가져가 특허를 등록했고, 해당 특허로 소송을 제기했다"고 주장했습니다. LG화학이 미국 국제무역위원회(ITC)에 제기한 US517 특허 관련 영업비밀 침해에 대응해 무리하게 맞소송을 걸었다는 겁니다.
그래서 관련된 특허 기록을 뒤졌습니다. 국내외에 등록된 2컵 3면 봉합(실링) 파우치형 이차전지 제조 특허와 유사한 내용의 특허 수십건을 살펴봤습니다.
의외로 SK이노베이션의 무리한 특허 소송 측면보다는 LG화학의 주장에 의구심이 좀 더 남습니다.
먼저 SK이노베이션이 LG화학을 상대로 미국 ITC와 델라웨어주 연방지방법원에 소송 기회(?)를 제공한 특허(US10121994)를 확인했습니다.
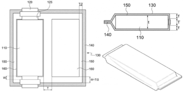
US994 특허는 파우치형 배터리의 제조 기술입니다. 이 기술을 활용하면 포장재(파우치 필름)로 전극 조립체를 감쌌을 때 만두처럼 3면만 밀봉(실링)하면 됩니다. 특히 US994 특허는 기존 방식에서는 한계였던 전극 조립체 두께 문제를 해소했습니다.
제조사들은 파우치형 배터리를 만들 때 포장재에 전극 조립체를 담을 수 있는 '포밍부'라는 움푹 파인 공간을 만들거나 가상의 공간을 정하게 됩니다. 기존에는 포밍부에 전극 조립체를 담은 뒤 상·하부 포장재를 포개 맞닿는 4면을 모두 실링했습니다. 그렇다보니 포밍부의 깊이보다 더 두꺼운 전극 조립체를 담을 수 없었습니다.
US994특허는 포밍부의 간격을 조절해 두꺼운 전극 조립체도 담을 수 있도록 했습니다. 두꺼운 전극 조립체라도 포밍부 간격을 넓혀 수용할 수 있게 만든 겁니다. 이 특허는 유사한 형태의 3면 실링 방법 특허 중 비교적 빠른 2015년 6월 29일 국내에서 원출원(1020170002336)됐습니다. 동일한 내용으로 미국에서는 2016년 출원됐습니다.
이를 두고 LG화학은 당시 내부기준으로 특허 등록을 해서 보호받을 만한 고도의 기술이 없어서 특허를 출원하지 않았다고 주장합니다. 그러기엔 LG화학은 유사한 내용의 3면 실링 관련 특허를 SK이노베이션보다 늦게 다수 출원했습니다.
US994특허의 인용문헌(References Cited)에도 LG화학이 2006년 4월 17일 출원한 '파우치형 전지'(1020070102768)가 기재돼 있습니다. 768 특허도 포밍부에 전극 조립체를 담은 뒤 포장재를 반으로 접어 3면을 실링하는 기술입니다.
2015년 11월 3일 출원한 1020170052061특허는 포장재에 소정의 폭(W) 만큼 떨어진 1컵과 2컵을 형성하고, 이들 컵을 포개 전극 조립체를 내장할 수 있도록 했습니다. 발명을 통해 상하부 파우치의 연결부분이 외부로 돌출되지 않아 이차전지의 길이(전장)가 감소하는 효과가 있다고 서술하고 있습니다.
2017년 8월 23일 출원한 특허(1020180029856)는 포밍부가 바깥쪽은 깊고 연결부 쪽은 얕은 기울어진 3면 실링 포장재였으며, 2018년 3월 9일 출원한 특허(1020190106473)는 포밍부 형성 수치를 더 구체화한 내용을 담고 있습니다.
이 외에도 LG화학은 다른 형태의 3면 실링 방법을 몇가지 개발해 특허출원해 두고 있었습니다.
LG화학 측은 이들 특허에 대해 "특별한 기술이 있었기 때문에 특허청에서 인정받아 등록될 수 있었다"고 설명했습니다.
LG화학의 주장대로 특허는 '신규성'이 생명입니다. 특허 출원 전 국내·외에서 공지(公知)됐거나 공연(公然)히 실시된 발명, 배포된 간행물에 개제됐거나 전기통신회선을 통해 공중(公衆)이 이용할 수 있는 발명은 특허로 허용되지 않습니다.
만약 이를 어기고 특허 등록을 하더라도 무효 소송 등으로 특허권리를 상실할 수 있습니다.
그런데 LG화학은 3면 실링 관련 특허를 출원하기 전 신규성을 확인하기 위해 US994특허와 패밀리 정보인 336 등을 검토했을텐데도 당시 무효소송을 제기하지 않았습니다.
LG화학이 2013년 5월부터 크라이슬러에 A7 배터리를 공급했다는 반박에도 일부 의구심이 남습니다. A7 배터리는 US994특허의 선행기술이 적용됐다는 제품입니다.
LG화학은 차량에 탑재되면 자연스럽게 공개돼 분쟁 리스크가 없다고 판단했다지만 실제 공급 계약이 이뤄진 건 2016년 2월 입니다. 2013년 5월은 양 사가 배터리 개발 계약을 체결한 시기로 확인됐습니다.
그렇다면 A7 배터리가 공개된 건 US994 특허가 등록된 2015년 6월보다 훨씬 뒤의 일입니다. 또 LG화학이 선행기술을 갖고 있었다 하더라도 공개에 앞서 특허출원이 이뤄진만큼 SK이노베이션에 우선권이 인정됩니다.
다만 LG화학의 또다른 주장대로 SK이노베이션이 핵심기술을 탈취해서 특허 등록을 했다는 정황이 포착되면 이 같은 의구심은 모두 사라지게 됩니다. 이 때는 당연히 특허가 무효화되고 소송도 기각됩니다.
LG화학 관계자는 "특허가 등록되기 전 이미 판매된 제품이 있으면 신규성을 잃기 때문에 특허로서의 요건을 못 갖춘 것"이라며 "기술을 베껴가서 특허를 등록한 뒤 소송까지 하는 희대의 제재 요청을 SK이노베이션이 제기했다"고 말합니다.
SK이노베이션 관계자는 "선행기술이라고 주장하는 A7 배터리는 특허침해 소송을 제기할 당시엔 전혀 언급도 없다가 수 개월이 지난 뒤에야 제시된 제품"이라며 "LG화학이 등록한 기술들도 우리가 특허를 낸 뒤에야 이뤄졌다"고 반박했습니다.
SK이노베이션이 US994 특허를 침해했다고 문제 제기한 배터리는 GM 쉐보레의 볼트(BOLT)와 재규어의 아이페이스(I-PACE)에 탑재된 제품입니다. LG화학은 각각 2015년 공급계약 후 2016년 양산, 2017년 공급계약 후 2018년 양산에 들어갔습니다.
- LG화학-SK이노 '배터리 소송', 감정싸움 '비화'
- LG화학으로 기울어진 '배터리 전쟁'···SK이노베이션의 선택은?
- LG "국면전환용" vs SK "항소"···'배터리 전쟁' 2라운드 돌입
- '배터리 전쟁' 첫 판결···SK이노베이션, LG화학에 졌다
- 'K-배터리 동맹' 균열···LG화학, SK이노베이션 검찰 고소
- IT업계, 인공지능으로 가짜와의 전쟁 펼친다
- [초점] LG그룹, LG화학 배터리 사업 분사 '초강수'···배경은?
- [뉴스톡톡] 한화 금융사 '보스를 지켜라!'
- LG화학, 배터리 분사···'LG에너지솔루션' 신설
- SK이노베이션 임직원, 사회안전망 전용몰서 추석선물 구입
- SK이노 "특허소송 문서삭제 주장 '거짓'"···LG화학 "오도말라"
- SK IET, 프리 IPO로 3000억 조달 계획
- LG화학-SK이노 '또 충돌'···美 ITC 조사국 의견서 '불씨'
- SK이노 "LG화학, 포렌식 중 자료 무단 반출" 주장
- 친환경 소셜벤처 소무나, SK에너지 내트럭하우스 입점
- 美 조지아·테네시주 하원의원들, LG-SK에 '배터리 소송' 합의 촉구
- SK-LG, 美특허심판 각하 '또 충돌'···"절차적 이유" vs "왜 청구했나"
- 美 ITC, 'SK 994특허소송 취소' LG 요청 기각
