[서울파이낸스 오세정 기자] LG전자는 최근 유럽의 대표적인 가전업체인 독일 밀레(Miele)와 로봇청소기 특허 라이선스 계약을 체결했다고 1일 밝혔다.
이번 계약에 따라 밀레는 LG전자의 로봇청소기 특허 기술을 사용해 로봇청소기를 생산하고 판매할 수 있게 됐다.
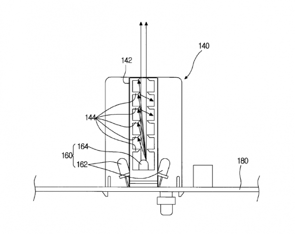
이번 계약은 LG전자가 로봇청소기에 채택한 '충전 유도 가이드' 등 3가지 독자 기술에 관한 것이다.
충전 유도 가이드는 청소를 마친 로봇청소기가 다음 청소까지 대기하기 위해 충전도크(Dock)까지 정확하게 복귀할 수 있도록 해주는 기술이다.
대부분 로봇청소기는 적외선 유도 신호를 따라 충전도크로 돌아오게 되는데 이 기술은 격벽 구조를 이용해 다른 방향으로 나가는 적외선을 차단시킨다. 이 기술이 적용된 로봇청소기는 일직선으로 곧게 뻗어나간 적외선 신호를 감지하며 정확하게 충전도크까지 도착할 수 있다고 회사는 설명했다.
LG전자는 충전 유도 가이드 외에도 '먼지통에 결합되는 필터의 장착여부 감지구조', '하부 브러시의 결합구조' 등 특허도 밀레가 사용할 수 있도록 했다. LG전자는 로봇청소기와 관련해 글로벌 기준 700건이 넘는 등록특허를 보유하고 있다.
앞서 LG전자는 지난해 6월 GE어플라이언스(GE Appliance)와 프리미엄 냉장고인 얼음정수기냉장고의 핵심특허인 도어(Door) 제빙과 관련한 특허 라이선스 계약을 체결한 바 있다. 이번 밀레와의 라이선스 계약으로 LG전자는 미국에 이어 유럽에서도 생활가전 분야의 앞선 특허 경쟁력을 인정받았다고 밝혔다.
전생규 LG전자 특허센터장 전생규 부사장은 "LG전자는 글로벌 가전시장을 선도하는 원동력인 지적재산권을 적극적으로 확보하고 있다"고 말했다.
- "아무 것도 하지 않는 것이 실패"···구광모 회장 '현장 행보'
- LG전자, 블록체인 플랫폼 '헤데라 해시그래프' 운영위 참여
- LG전자 직원, 서울역 빌딩서 투신···경찰 "동기 파악 중"
- '스팀 가전' LG 트롬 스타일러 "대용량 제품 판매량 30%↑"
- LG 프라엘 더마 LED 마스크 'K마크' 규격 시험 통과
- LG 나노셀 AI ThinQ 라인업 확대···"프리미엄 TV 시장 공략"
- LG 벨벳, '사장님 귀는 당나귀 귀' 김소연 대표편에 등장
- LG전자, 트롬 건조기 5월 판매 비중 70%···"스팀이 대세"
- LG, AI 인재 찾는다···LG AI 해커톤 개최
- LG 디오스 전기레인지, 인덕션 화구 인기몰이···판매량 비중 80%"
- LG전자, 보급형 스마트폰 K61·K41S 캐나다 출시
- "LG전자, 글로벌 가전 업체 중 2분기 실적 돋보일 것"-하나금융투자
- LG전자 "48인치 LG 올레드 TV, 중형 시장 게임 체인저"
- LG전자, 에너지효울 1등급 상업용 스탠드 에어컨 출시
- LG전자 "환경의 날 기념 환경보호 실천 비대면으로"
- LG전자·우아한형제들·한국로봇산업진흥원, 서비스 로봇 '맞손'
